摘 要:“暗挖逆筑法”是一种新颖的地下工程施工方法。根据该工法的施工步骤,本文主要对施工过程中的重要工况进行了力学计算和模拟分析,文章最后还补充了部分现场监测资料。
关键词:暗挖法、逆筑法、监控量测、地铁
(一)“暗挖逆筑法”简介
北京地铁天安门西站是国内首次采用“暗挖逆筑法”施工的大型地下工程,车站典型横断面如图1所示,施工步骤示于图2,主要包括:

图1 车站横断面图(单位:cm)

图2 主要施工步骤图
1. 开挖上、下八条导洞,施作网喷混凝土临时支护结构;
2. 浇筑下部导洞内的条形基础,在导洞内从上往下进行人工挖孔、浇筑边桩、安装钢管柱,浇筑边桩和钢管柱上的边纵梁、纵向天梁;
3. 开挖柱间上部土体,施作拱部初期支护;
4. 拆除导洞临时支护结构,从上往下逆筑模筑混凝土。
(二) 施工力学分析
施工力学分析共包含两部分内容,即平面有限元模拟计算(应用2D-σ程序)和空间力学分析(应用Supersap91程序)。
1. 平面有限元模拟计算
平面有限元主要用于施工过程中的地层动态模拟,满足工程施工的环境控制要求。
(1) 计算参数及计算网络
根据地质详勘资料、设计文件及以往的计算分析经验,可选取表1所示的计算参数。计算网络示于图3。
地层及支护结构计算参数 表1


图3 计算网络图
(2) 计算结果
下面主要给出各主要施工阶段的地表沉降曲线(图4)和塑性区域(图5)。

图4 计算地表沉降曲线

图5 塑性区图
2.空间力学分析
空间力学分析采用“荷载—结构”模型,主要用来进行结构检算。下面给出典型的、最不利受力阶段(开挖柱间上部土体)的计算简化模型和计算结果。
(1) 计算简化模型
上述典型的、最不利受力阶段(开挖柱间上部土体)的结构状态及简化计算模型分别示于图6、图7和图8。

图6 最不利结构受力状态

图7 计算简化模型1(未考虑防水板作用)

图8 计算简化模型2(模拟防水板作用)
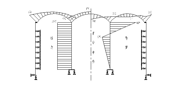
(2) 计算结果
考虑到上述状态系临时的、最不利的受力状态,故荷载取为“土压力+结构自重+施工荷载”,计算结果示于图9、图10。

图9 简化模型1支护结构计算内力(单位:kN.m)

图10 简化模型2支护结构计算内力(单位:kN.m)
(三) 现场实测资料
1. 地表沉降
典型实测地表沉降曲线示于图11,对照图4所示的计算结果有两点需作进一步说明:
(1)实测地表沉降值与计算值基本吻合,主要是因为北京地区有较多的“暗挖法”施工实例,计算参数的选择相对合理。
(2)两边拱施工阶段所得的地表沉降实测结果和计算值有一定差异,其主要原因是施工存在的地层损失(指结构与地层间存在的空隙)在模拟计算中没有得到充分反应。

图11 典型实测地表沉降曲线
2. 结构受力
为节省篇幅,本文仅给出车站核心受力结构—钢管柱的实测结果(表2)。
钢管受力实测结果 表2

对照表2、图9和图10几组结果可知:采用弹簧单元(只传递压力,不传递拉力、剪力和弯矩)来模拟内外层结构间防水板的力学效果较为理想。

