【提要】介绍城市轨道交通几种高架车站的结构形式及其适用条件,评述减小高架车站振动和基础沉降的结构措施。
【关键词】城市轨道交通 高架车站 结构研究
1 前言
我国城市轨道交通建设正面临大发展的机遇。城市轨道交通体系按走行方式划分为地面、地下和高架三种。当前城市轨道交通建设出现了线路高架化趋势,使高架车站应运而生。目前上海正在修建我国第一条高架轻轨线“ 明珠线”,在全部19 个车站中,高架车站占16 个。高架车站属地上高架结构,轨道列车运行于结构最上层。高架车站既不是单一的房屋结构, 也不是单一的桥梁结构,而是桥梁和房建融合在一起的结构体系。作为一种新的结构形式, 高架车站的结构特性有待进行深入的研究。本文就高架车站结构的三个关键问题进行初步分析和探讨。
2 结构形式和比选
国内外高架车站一般为2~4 层,站台层位于结构最上层,与区间高架桥等高。一般采用现浇或预制钢筋混凝土结构,优先采用预应力混凝土结构。常见的结构形式有三种。
2.1 空间框架结构体系
该结构属桥梁、房建结合方案(见图1) 。高架站先形成空间框架结构,再在其上形成连续板梁。该结构体系受力合理,结构整体性和稳定性好。
高架车站的荷载与房屋建筑一般所受荷载完全不同,活载占的比重大且受载点不断变化。框架结构受载不均匀,易造成基础的不均匀沉降,特别是在地质条件不好的地段。一旦发生基础不均匀沉降将损坏结构,而且修复困难。

图1 空间框架式车站结构
当列车以一定速度通过高架车站时,高架车站产生振动。框架结构的动力稳定性一般比桥梁结构差,因此高架车站的振动控制成为结构分析和设计的关键问题之一。
南京地铁南北1 号线工程共有5 个高架车站,均采用空间框架结构体系。框架横向为三柱二跨,纵向柱距为8~12 m 。行车道梁采用钢筋混凝土板梁,简支或连续支承于框架横梁上。
2.2 桥梁结构体系
属于桥建结合方案。高架站先形成桥梁结构(梁、墩柱、基础),再在桥上布置站台(见图2) 。

图2 桥梁式车站结构(箱梁, Y 形墩)
桥跨结构可选择的断面形式有箱梁、T 形梁、板梁和槽形梁等。箱梁截面抗扭刚度大,整体受力性能和动力稳定性好,正在规划的广州地铁2 号线高架车站拟采用这种形式。T 形梁刚度大,材料用量省,还可采用预制吊装法施工,宜优先采用。
墩柱常用的结构形式有T 形墩、双柱墩、V 形墩和Y 形墩。在高架车站中的墩柱应具有足够的强度和稳定性,在轨道列车作用下应避免产生大位移。
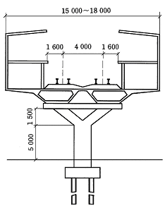
2.3 框架+ 桥梁结构体系
属于桥建分离方案(见图3) 。主体结构分为两个部分:车站建筑和高架桥。车站建筑包在高架桥之外,高架桥从房屋建筑中穿过,二者在结构上完全分开,受力明确,传力简洁。
车站建筑和高架桥受力自成系统,可防止列车运行对车站的不利影响,基础的不均匀沉降和车站建筑的振动问题可得到解决。“ 明珠线”部分高架车站采用了这种结构形式。
2.4 结构形式的选择
从使用功能上看,空间框架结构体系和框架+ 桥梁结构体系适用于大中型车站;桥梁结构体系适用于小型车站和中间站。就大型车站而言,从结构性能上对比,我们认为应优先采用框架+ 桥梁结构体系,理由为:
(1) 可解决高架车站最突出的力学问题,即列车动力荷载对车站房屋建筑的不利影响。该结构体系把车站建筑和高架桥分离成两个完全独立的力学系统,受力及传力明确简洁,可解决车站振动控制和基础沉降控制这两个结构设计施工中的难题。
(2) 可发挥桥梁结构和框架结构各自的特点和优越性。高架桥适于承受列车快速移动荷载,框架结构在各类车站站房中广泛采用,给车站的功能布置和使用带来方便。框架+ 桥梁结构体系发挥了二者的优点。
(3) 高架车站的结构设计大为简化。高架桥和车站建筑可以依据现行的国家规范,分别进行独立的设计计算。

图3 框架+ 桥梁式车站结构
有人认为该结构体系切断了框架纵横梁的联系,削弱了车站建筑的整体性,需增加柱网。我们认为,只要适当调整高架桥墩柱和房建框架柱的相对位置,这个问题不难解决(见图4) 。
图4 框架+ 桥梁式车站梁柱布置示意—
而且,框架横向既可以是四柱三跨,也可以是三柱二跨,不受高架桥的影响。
3 振动控制
高架车站必须通过减振措施来减小走行部分对车站主体结构的动力影响。橡胶支座的运用对高架车站的振动控制效果明显。以上海“明珠线”某框架式车站为例,框架上面采用预应力混凝土低高度连续板梁,板梁下设板式橡胶支座。高架桥上荷载通过支座传递至站房结构的中立柱和框架横梁上。板梁单支撑传力于车站中立柱上,双支撑作用在框架横梁上(如图5) 。
图5 高架车站橡胶支座布置示意图
根据高架车站不同的结构特点,动载和静荷载的大小等综合因素,采用以下不同支座:
(1) 板式橡胶支座 最适用于纵向跨径小, 动静载较小的车站。
(2) 四氟滑板式支座 适用于纵向跨径大、位移量大的车站。
(3) 盆式支座 适用于动静荷载很大、位移量大、当地地震烈度不超过八度的车站。
(4) 定向支座或锚固式支座 适用于烈度为八度以上的地震区。
4 基础沉降控制
位于软土地区的高架车站,基础沉降是一个突出的问题。国内外工程实践和理论研究表明:在软土地基上,桩基础是首选的基础形式。
桩基可以将上部荷载有效地传递到压缩性小的深层土层中去,以满足上部结构物对基础承载力和变形的要求。桩基能有效地承受横向水平荷载,其抗震及抗动载性能好。
经验表明,在设计中选择合适的桩基持力层、以及桩径、桩长、桩间距等参量,可以使各桩基的总沉降量大致相等。饱和粘土地基的沉降过程是一个固结沉降过程。各桩基础在总沉降量相等的条件下,它们的沉降时程曲线基本相同,而且车站横梁对各立柱的沉降能起调节作用。所以,各桩基础在沉降过程中的沉降差,能被控制在很小的范围内。
南京地铁高架车站的桩基础均采用钻孔灌注桩,满足了承载力和基础沉降的要求。上海江湾镇高架车站采用了锤击高强预应力混凝土管桩(PHC 桩),效果良好。在设计施工中应严格控制各桩基础间的沉降差,比如在验算某横向框架两对基础时得到:中柱桩基础的沉降量为9185 cm , 边柱桩基础为8194 cm , 沉降差为0191 cm , 确保了不均匀沉降差在1 cm 范围以内,满足了设计要求。
5 结束语
目前在我国,高架车站的结构研究是一个值得重视的课题,尤其对于桥梁、房建合一的车站结构,受力、传力方式不甚明确。本文对高架车站结构仅进行了初步的分析和探索,今后对高架车站的结构形态、静动力性能、抗震、疲劳、振动和基础沉降等问题还需深入研究。

