地下连续墙在明珠线换乘地道中的应用
摘 要 介绍了地下连续墙既作为地下建筑物施工的临时支挡结构,又作为使用阶段的地下建筑物外墙的应用案例。分析了地下连续墙在明珠线换乘地道设计过程中的计算方法。
关键词 人行隧道,地下连续墙,施工设计,防水设计
1 工程概况
上海轨道交通3 号线(明珠线)与轨道交通1 号线(地铁1号线)在上海火车站实现换乘。上海火车站地区是上海的一个特大型公交枢纽。铁路站场将车站广场分割为南北两块,而明珠线经过车站的北广场,地铁1 号线的车站设在了南广场。为使两条线路之间的乘客方便地实现换乘,同时沟通南北车站广场的人行交通,必须建一条地道。因此,明珠线工程包括了连接明珠线与地铁1号线的地道工程。地道始于火车站北广场下明珠线车站的地下站厅,在上海火车站站场的东咽喉处穿越15 股铁道,然后在火车站南广场的铁路东行包房旁由西向东转向地铁1 号线的车站站厅层。设计时根据人流的大小,将整个地道分为两段。一段在火车站站场底下,人流较密集,采用净宽12 m, 净高3 m 的地道,称为主地道。主地道的北端与明珠线车站站厅层相接,南端分岔,一端连接紧靠铁路东行包房的出入口,另一端接一段净宽6 m, 净高2.6 m的地道,至地铁1 号线车站站厅层,称为支地道。整个地道工程还包括主地道与广场地面出入口之间的一小段地道和地下通风设备机房。
上海火车站地区的地质情况较为复杂。地道处的地质经地质勘探孔揭示,地层分布如下: ① 人工填土,上部为杂填土,下部为素填土,层厚约2 m;② 粉质粘土,褐黄色-灰黄色,可塑-软塑,层厚约1 m; ③ 砂质粉土,灰色,稍密,夹薄层淤泥质粘土及粉砂,层厚约11.9 m; ④ 淤泥质粉质粘土, 灰色,流塑,层厚约7 m; ⑤ 粉质粘土,灰色,软塑-可塑,夹薄层粉砂,层厚约3.6 m; ⑥ 粘土,暗绿色, 可塑-硬塑,层厚约6.4 m; ⑦ 砂质粉土,黄色,稍密-中密,未钻透。地下水埋深2.5 m 左右,属潜水。地道基坑范围大部位于2~3 层砂质粉土内, 其垂直渗透系数Kv =2.5 ×10-4cm/s, 水平渗透系数KH =1.0×10-4cm/s 。其固结快剪峰值强度指标为C =6 kPa,α=30.5°。
原施工图设计的支地道采用并列搭接的钻孔灌注桩围护地道基坑,明挖法施工地道。但是在具体实施时,由于支地道所处位置为南广场的公交枢纽,如按原方案施工,按规定的工期,正好与火车站的春运高峰相冲突,对整个广场的交通疏导非常不利。在考虑各方因素后,决定将支地道靠近地铁1 号线的约70 m 地道改为逆作法施工(即地铁车站常用的盖挖法),先施工完成围护结构及地道的箱身顶板,然后再在地下开挖,完成地道的底板和内墙。为了尽量利用作为围护结构的地下连续墙,设计时将地道的结构与地下连续墙结构结合起来,将地下连续墙作为地道的外墙,在地道的顶底板施工完成后,在地下连续墙内侧浇注一层内衬墙,作为地道的使用结构处理。
2 设计计算方法
2.1 设计方法概况
采用逆作法施工的支地道结构计算与施工过程是密切相关的。在设计过程中,根据施工工况的不同,按施工过程中每一次独立工况的结构受力状态来进行分析。由于地道所处的地基地质条件为渗透性很好的砂质粉土,对开挖基坑进行稳定性验算后,确定地下连续墙的入土深度为14 m , 开挖深度为6 m 。
考虑到在砂质粉土中进行地下连续墙施工的质量因素,还按同样结构的不同工况进行了顺作法施工设计,以便对照和备用。
2. 2 逆作法施工设计
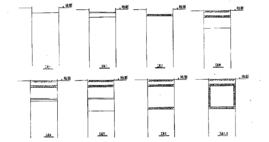
逆作法施工的主要工况如图1 : 在地道基坑范围内,施工好地下连续墙,然后开挖基坑至第一道支撑下深度为第一工况;第二工况为架设好第一道临时钢支撑后,开挖至地道顶板底,钢支撑采用Φ600 mm 钢管,钢管两端设牛腿支座;第三工况为浇注好地道顶板并拆除临时钢支撑;第四工况为恢复路面,第五工况为在地道顶板下的地下开挖一定深度的土;第六工况为架设临时钢支撑再挖土至地道的底板底;第七工况为浇注地道底板后拆除临时钢支撑;第八工况为浇注地道内衬墙后的受力工况;第九工况为将地下连续墙外的土压设为静土压后的最终受力工况。
图1 逆作法施工工况
由于地道的结构尺寸较小,地质条件复杂,考虑到结构安全,在设计计算时根据各工况的重要性大小,对部分工况进一步作了细化分析。如:对地道顶底板与地下连续墙的连接方式,分别按铰接和刚接进行分析;考虑了温度和混凝土收缩影响的因素;等等。
2. 3 顺作法施工设计
顺作法施工同样划分为若干工况。同逆作法施工一样,首先浇注好地下连续墙。开挖基坑至第一道临时钢支撑下为第一工况;第二工况为架设第一道支撑并开挖至第二道临时钢支撑下;第三工况为架设第二道支撑并开挖至地道底板下;第四工况为浇注地道底板并拆除第二道支撑;第五工况为浇注地道顶板并拆除第一道支撑;第六工况为浇注内衬墙;第七工况为回填恢复路面;第八工况为将地下连续墙外的土压设为静土压后的最终受力工况。各工况见图2。顺作法施工也对重要工况进一步进行了细化分析。
地下连续墙的设计计算有很多方法。根据上海市的有关规范,在计算时采用了“ 杆系有限元法”。将地下连续墙划分为若干连续的单元,把地下连续墙的内外侧土体作为弹性介质,临时的支撑结构仅作为边界支座。在基坑的开挖和架撑过程中,地下连续墙内外侧的受力和变形是变化的。在计算时采用了两种方法对整个施工过程的结构进行分析。在单纯软土地基中的开挖和支撑过程的计算采用“ 总和法”,即地下连续墙每一工况的内力和变形由本次工况的外力作用和上一工况中由于支撑变形的强迫位移产生的内力和变形总和而成。
这种方法对比拟成梁的地下连续墙在几何特性和力学性质不变的情况下是合理的。但对逆作法施工及有换撑等改变结构几何特性和力学性能的工况,“总和法”就不再适用,应采用非线性的“ 增量法”来计算。即当前工况的内力和变形用本工况外力增量叠加前一工况已有的内力和变形后得到。对于水平荷载增量,主要由挖土和拆撑引起。一般由于挖土和拆撑引起四项增量: ① 开挖侧静土压力撤消; ② 开挖面上土弹簧内力的释放; ③ 开挖面下土弹簧的放松引起的内力释放; ④ 拆撑产生的支点反力作用。
图2 顺作法施工工况
在地道设计中,分别运用本院自编的《弹性地基平面杆系计算程序》和同济大学地下系的《启明星地下结构计算软件》进行计算,取得了相似的结构。
3 连续墙结构防水
由于连续墙直接作为地道结构的外墙,因此连续墙墙幅接头的防漏处理和连续墙砼的耐久性成为地道结构使用寿命的关键。
3. 1 连续墙墙幅接缝
根据上海地区地下连续墙的设计、施工经验, 连续墙墙幅的接头较多采用锁口管或接头箱作为槽壁的端模,墙幅之间用一字型或十字型钢板作为连续墙的刚性连接构件。本次设计中采用截面为圆形的锁口管,使连续墙的槽端成为凸圆端形或凹圆端形。连接件用钢筋替代。锁口管要有足够的刚度。在混凝土施工过程中微量提动锁口管,并应在浇完混凝土6~8 h 内拔除。在相临槽段内的连续墙施工时,应采用专用工具在钢筋笼入槽前清刷已成墙的连续墙接缝,使接缝的混凝土接合紧密。
4. 2 连续墙砼耐久性
地道结构的防水性要求较高,因此必须提高混凝土的抗渗性。除了设计要求高标号的防水混凝土外,在上海地区高地下水位的环境下,还采用了在混凝土中添加外加剂的办法来提高混凝土的耐久性。可在连续墙和地道顶底板混凝土中添加HEA 砼防水剂。这种外加剂用于地下建筑的防渗效果良好,主要作用是通过HEA 水化后产生的钙矾石晶体填充混凝土毛细空隙,并能使混凝土产生微量膨胀,有效补偿了混凝土的干缩和冷缩。使用方法为在水泥中内掺6 %(等量取代水泥) 。由于该外加剂有早强功能,因此在使用时特别要注意拌和后的浇捣时间和浇注后的养护,对超长结构还要加设后浇带,并进行分仓浇注。除以上主要防水措施外,对地道顶、底板与连续墙的施工接缝和其它施工缝,设计均考虑设膨胀橡胶止水带防护。
4 结语
在砂性土中进行地下连续墙施工,沉放钢筋笼和浇注水下混凝土时一定要注意对槽壁的防护,以的增量法。特别是有关换撑及内衬结构随工况的免造成槽壁坍塌,影响地下连续墙的墙面质量,进不同而变化后,需从前后工况之间的结构变化来考而影响逆作法施工工序。虑受力特点。利用地下连续墙作为外墙的最大优
在人行地道建设中运用地下连续墙结构,通常点是:结构刚度大、有良好的承载力、抗渗性,且逆是将地下连续墙作为施工基坑的挡土结构,设计时作法、顺作法均可适用,节省了工程投资。通过本仅考虑顺作法施工工况,计算方法采用总和法。但工程的设计,拓展了地下连续墙在城市人行地道中如将地下连续墙作为地道外墙结构,在计算时就要的运用范围。用考虑结构受力过程随受力工况的变化进行调整
参 考 文 献
1 刘建航,侯学渊. 基坑工程手册. 北京:中国建筑工业出版社,1997
2 扬德林. 软土工程施工技术与环境保护. 北京:人民交通出版社,1999
3 DBJ08 -61 -97 基坑工程设计规程
4 DBJ08 -11 -99 地基基础设计规范

