结合南京地铁建设谈盾构隧道施工
摘 要 结合南京的工程地质及水文地质条件和线路情况,阐述了隧道施工时盾构机的选型、盾构设计参数的设定、盾构进出洞的土体加固以及盾构通过特殊工点的处理方法。介绍了当今盾构施工技术的发展概况。
关键词 南京,地铁,隧道施工方法,盾构法
1 南京地铁1 号线盾构隧道概况
南京地铁1 号线一期工程南起奥体中心站,北至迈皋桥,全长21. 72 km , 共15 个区间。其中5 个半区间采用土压平衡盾构施工,盾构推进总长度约10. 9 km 。设计由上海隧道设计院和中铁洛阳隧道设计院承担。盾构隧道最大覆土厚度15 m , 最小厚度仅有0. 7 m ; 隧道纵坡为V 形,最大纵度为33 % , 形成高站位,低区间;最小平面曲线半径为400 m 。盾构隧道主要穿越的地层有:可塑-软流塑的粉质粘土、粉土、粉细砂、粉砂夹细砂。其中淤泥质粘土具有高压缩性,极易产生土体流动,开挖面极不稳定;粉细砂,粉砂夹细砂含水量丰富,透水性强,极易产生涌水、涌砂;尤其是有一段150 m 长的隧道处于严重的液化区,设计、施工中考虑了液化影响。
盾构隧道线路穿越的市中心区,街道狭窄,交通繁忙,道路两侧高楼林立,地下管线繁多。区间隧道要穿越秦淮河、金川河、古城墙、在建的玄武湖公路隧道,以及多栋建筑物。盾构穿越秦淮河时上面覆土仅有0. 7 m , 与在建的玄武湖公路隧道底板最小净距也仅为1 m , 施工难度很大。
2 盾构机选型
南京地铁1 号线盾构隧道内有4 台盾构施工, 其中3 台为德国海瑞克公司生产,1 台为日本三菱公司生产。根据南京的地质和水文条件,主要是淤泥质粉质粘土、粉质粘土、粉砂、粉土,地下水位位于地表下1~2 m , 渗透系数为5 ×10-3cm/ s , 易液化。采用的盾构类型只能是泥水盾构和土压平衡盾构两种。由于泥水盾构在施工中需要泥浆池进行泥水分离,占地较大,对环境会造成一定的污染, 且盾构价格贵,设备技术不易掌握。土压平衡盾构适合于粉质粘土、含水砂质粉土层,另外,配备加泥装置,对控制地表沉降效果很好。因此,四台盾构均选用土压平衡盾构。
现以盾构三标的盾构机为例,介绍盾构机的主要参数。该台盾构机设计最大埋深18 m , 最大爬坡为35 ‰,最小转变半径为300 m ; 盾构最大推力为3 560 t , 由16 对32 个千斤顶组成;盾构的外径为6 340 mm , 盾构主机长7 400 mm , 盾构总长度60 m ; 刀盘最大旋转扭距为469. 4 t·m , 刀盘的开口度为40 % 。
3 盾构隧道施工
3. 1 盾构掘进的基本情况
南京地铁1 号线盾构区间隧道单线推进长度为10. 9 km , 分三个标段,分别由4 台盾构掘进。其中盾构一标为中华门站北工作井—三山街站(试验段) 和新街口—珠江路区间,由上海隧道公司采用日本三菱盾构施工;该标段单线推进长度3. 206 km , 计划2003 年10 月底完工,总工期31 个月;该段隧道顶部覆土较薄,试验段仅有4~10 m ; 盾构穿越内秦淮河时,需进行抗浮处理,盾构机距抗浮板底面仅有0. 8 m 。盾构二标为三山街—张府园—新街口,单线推进长度3. 06 km , 计划2003 年10 月底完工;该段由上海基础公司采用德国海瑞克公司的盾构施工。盾构三标为玄武门—许府巷—南京站区间,单线推进长度4. 57 km , 计划2003 年12 月底完成;该标段由洛阳隧道局采用2台德国海瑞克公司的盾构施工。该标段工程难点较多,盾构需穿越玄武湖、在建的玄武湖隧道、古城墙、金川河和多栋建筑群,盾构局部穿越粉细砂地层。从目前施工情况来看,盾构施工比较顺利,现成功穿越了在建的玄武湖隧道、内秦淮河、金川河,沉降控制达到预期的要求。盾构平均推进速度达8~10 环/天, 盾构三标最高可达17 环/天。
3.2 盾构进出洞加固
盾构区间隧道共有24 个进出洞端头,根据地质条件、水文条件和地面环境分析,需全部进行加固处理。盾构进出洞是盾构施工中技术难度大、工序较复杂的施工阶段,一旦处理不当,洞门外土体易塌方或流失,甚至使盾构失去控制。因此在认真做好地质与环境调查基础上采取合理的加固方案, 严格控制盾构机进入加固区前的操作,适当对开挖面注入膨润土泥浆等,并低速推进,低速转动大刀盘,严防超负荷运转,以免产生盾构进入接收工作井前大刀盘被搅拌桩或旋喷桩卡住而强行推进的不利现象。
进出洞端头井地层加固范围为隧道全断面开挖轮廓线外3.0 m, 始发端加固长度为6.0 m, 到达端加固长度为3.5 m 。但从施工情况看,在砂层地段3.5 m 的盾构到达段加固长度显得较短。
盾构工作井加固方法的选取应根据地质、水文、周围环境合理选取。南京地铁由于其地质的复杂性,因地制宜地采用了多种加固方法,如深层搅拌、高压旋喷、井点降水、冷冻法等,有时可多种方法并用。深层搅拌法适合于粘性土层、淤泥质土层;高压旋喷法适用于砂性土、粉土。加固后的土体强度控制在无侧限抗压强度为0.5 MPa 左右。加固土体应均匀、密封防流砂,这对盾构安全进出洞至关重要。
从目前盾构进出洞施工情况看,盾构三标在出许府巷及进玄武门时施工比较顺利,但盾构二标、盾构一标在进出洞时出现了一些问题。例如,盾构二标在某站南端头盾构出洞时曾出现两次流砂,流砂量达110 m3,主要集中在洞门中心东西侧,东部20 m2 区域地面下陷达1.5 m 左右,加固区西南侧1.5 m2 范围地面下降1 m 左右。因洞门处的混凝土经过开凿,已经局部开裂。为防止洞门处的混凝土失稳,在洞门钢环上焊接18 号工字钢作为横挡, 采用木板支模浇灌C20 混凝土加固。
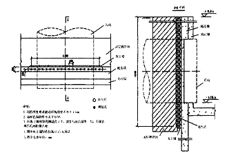
为防止流砂再次发生,保证盾构机安全出洞, 需对段头井补充加固。为此,考虑了三种方法:深井降水法、旋喷桩加固法、冻结法。根据两次流砂情况,流砂量在长时间内没有减少,反而有增加的趋势,说明地下水补给比较丰富,且内秦淮河离张府园南段头井约50 m, 地下水和内秦淮河可能连通,因此降水效果无法保证。从理论上讲,旋喷加固在该地层加固效果较好,但夹在连续墙和搅拌桩加固体之间进行旋喷补充加固,一边为硬的水泥土,一边为钢筋混凝土,影响成桩效果。此外,洞门处的连续墙已开裂,旋喷桩施工时可能发生侧漏, 地层内可能有流动水存在,对成桩有影响。最后决定对段头井采用冷冻法进行补充加固,在盾构出洞方向沿工作井的连续墙外侧布置冻结孔,并在冻结孔中循环低温盐水,使冻结孔附近的含水地层结冰,形成冻土墙。盾构在冻土墙的保护下出洞。冻土墙设计有效厚度为0.5 m, 有效宽度为8.7 m, 冻结深度取18.5 m(洞口周边冻土搭接宽度1 m, 下部搭接高2.5 m) ,见图1。
图1 张府园南段头井补充冷冻法加固
盾构一标在某站出洞时由于大量流砂,盾构洞门无法打开,原洞门周围的土体加固是用单管旋喷加固,加固范围为隧道上部4 m 、下部3 m 、左右各3 m 、轴线方向6 m 。由于在推进范围多处存在纯粉砂土含水层,流砂严重,致使多处加固效果不明显。因此,以降水把地下水位降到15 m 以下,确保开洞无涌砂、流砂出现。井点设在隧道两侧2 m 处,井点间距沿盾构推进方向为2.5 m, 每排5 根共10 根,每根井管长17.5 m, 其中滤网长4.0 m 。
3.3 盾构掘进参数的优化
在盾构施工中,尽可能减少对周围土体扰动的关键在于保持盾构开挖面的稳定和管片脱出盾尾后及时充填空隙。这就要求调整好盾构掘进参数, 做好同步注浆和二次压浆。
盾构掘进主要有如下10 个参数控制:刀盘和土仓压力、排土量、推进速度、螺旋机转速、千斤顶总顶力、注浆压力、盾构坡度、盾构姿态和管片拼装偏差等。为了合理选择盾构掘进参数,根据地质埋深和环境条件对参数选取作预测计算,同时对盾构轴线上方的地面变形进行实测反馈,以验证选择参数的合理性并优化施工参数。一般情况,选取盾构出工作井50~100 m 范围作为试验段,并通过对试验段地表沉降观测进行参数优化。土压平衡盾构, 就是要保证开挖面的土压平衡,可以通过控制推进速度、调整排土量等使地层水土压力与土仓压力的差值最小。这种平衡是一种动态平衡。
3. 4 特殊工点的处理
该工程难点较多,下面仅介绍两个工点的处理方案。
3. 4. 1 盾构穿越在建的玄武湖隧道
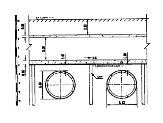
盾构隧道两次下穿在建的玄武湖公路隧道,且两隧道之间最小间距仅为1. 0 m(见图2) 。
图2 盾构隧道与玄武湖公路隧道的相互关系
玄武湖隧道底沉降控制较严,要求控制在下沉-20 mm 、上隆+ 5 mm 以内,因此盾构施工十分困难。为了盾构施工的安全以及今后玄武湖隧道运营安全,盾构施工中根据模型试验及数值分析的结果,采用了如下技术措施:
(1) 由于该处为淤泥质粉质粘土,且夹层很薄, 因此在玄武湖隧道施工前对隧道下部地铁通过地层进行了注水泥浆加固处理( q0 > 0. 5 MPa) ;
(2) 玄武湖隧道设计中,为了增强隧道的纵向刚度,加强了底板的配筋,并在底板下增加了抗拔桩,使运营期间的荷载大部分通过抗拔桩传递给下部地基中,同时还可以阻止盾构隧道的上浮;
(3) 盾构施工中加强监测,及时进行二次注浆, 并控制好土压平衡。
目前盾构隧道左线已顺利通过玄武湖隧道。从监测来看,玄武湖隧道最大下沉量为1. 9 mm , 最大上隆1 mm , 满足预期确定的要求。
3. 4. 2 盾构过秦淮河
盾构一标在三山街至中华门盾构区间,需穿越内秦淮河。该处覆土很薄,在原河床条石基础下深度1. 5 m 范围基本为碎石、碎砖等建筑垃圾,且盾构离抗浮板底只有80 cm , 造成上部覆土不能加固密实,容易产生漏水、漏泥,使得隧道上部压力过小,隧道会产生向上漂移、下部产生空隙的现象。另外,盾构掘进时难以控制,盾构容易出现偏移。因此,盾构穿越内秦淮河施工时采取了如下措施: 将碎石、碎砖等建筑垃圾清除并覆土回填,在其上面浇70 cm 厚的抗浮板;在顶板下对盾构正面土体进行压密注浆加固,注浆孔采用内径100 mm 的PVC 管,加固深度为7 m , 孔位间距、孔位排距均为1 m , 共161 个加固孔,每个孔水泥用量0. 684 t ; 在盾构两侧各做一排钻孔灌注桩,见图3。
图3 注浆加固图
4 盾构施工技术的发展
随着城市化水平不断提高,地下空间如同地上空间一样会产生过密化现象,使得城市地铁建设必 然向大深度、长距离、自动化、大断面或任意断面方向发展。为了适应城市地铁的发展,盾构施工技术出现了如下发展趋势。
(1) 大深度化
都市圈内地下有各种管线如上下水管、煤气、通信、电力电缆以及已建的地铁、地下商场、地下停车场等构筑物,使得地下空间越来越密。新的轨道交通规划时必然要避开这些已有的地下构筑物向纵深发展。在大深度的地下进行盾构施工时,就要解决盾构刀盘的密封、盾尾密封止水、深竖井的施工等问题。
1980 年,日本研究开发出能耐100 t/ m2 刀盘、盾尾密封止水系统的盾构,能连续开挖10 km 以上。其密封技术已有在40 多条地下水压超过30 t/ m2 的盾构隧道中使用的业绩。在英吉利海峡盾构施工中,最大水压达100 t/m2,采用了该密封止水系统,最大开挖长度达20 km 。高水土压力下的密封止水技术的发展,使得盾构在较深地层中施工成为可能。
随着盾构施工深度化,盾构竖井的施工愈加困难,无论是施工安全、工期还是工程造价都不能有效控制。因此必须研究一些新型盾构和相应的施工工法,以解决竖井施工的矛盾。1991 年和1993 年,日本分别开发出MSD 盾构(两台盾构在地下以机械连接会合) 和球体盾构,并相应开发出地中会合工法和纵横连续开挖工法。地中会合工法是从隧道两端盾构机对挖,两盾构机在地中相互会合以机械方式连接而取消中间竖井的方法;纵横连续开挖工法是用一台球体盾构由地面将竖井和横向隧道连续以直角方向挖掘的工法,其主要特点是竖井也采用盾构机开挖,使竖井施工速度又快又安全。
(2) 长距离化
由于盾构施工深度的增大及竖井施工受施工场地、工期、施工费的限制,致使盾构长距离施工已无法避免。长距离施工时,因地质变化较大,同一台盾构机开挖时有可能遇到软土、卵石、砂岩、岩石等地层。这就要求开发同一台盾构机在遇到不同地层时可以随意更换相应刀盘的技术,以及在复合地层中的开挖技术。德国开发了科隆( KU RUN) 盾构机,可将刀盘回转到盾构机内侧进行更换切割钻头,避免以往采用中间竖井或地层注浆加固来更换切割钻头。针对同一开挖断面中既有软土又有岩石或砂岩时,发明了两用型盾构机。该盾构机的刀盘装有开挖岩层的超硬切割钻头及开挖土、砂的刀刃,并装有超前地质钻探机,施工时实现了开挖和管片安装同时进行,大大提高了施工速度。
盾构施工深度、长度增大后,必然会遇到急转弯和陡坡施工,普通盾构是无法完成的。1980 年开发了全方向的铰接盾构。目前铰接盾构能克服水平半径10 m 的急转弯和±30°内纵坡施工。
(3) 自动化
在大深度、长距离、高速、大断面盾构施工中, 最关键的是要缩短工期、降低劳动强度、保证施工安全、提高质量,这就要求提高盾构机施工的自动化水平。目前国外长距离盾构施工的盾构机一般配备如下系统:开挖管理、开挖面安全控制系统,导向自动控制系统,管片搬运、供给系统,管片自动安装系统。
(4) 开挖断面的多样化
圆形断面受力有利,也适合使用盾构施工且容易拼装管片,所以盾构施工多数使用圆形断面。但有时圆形断面不能有效利用。为了节省投资,最为理想的是根据需要开挖地下断面。为此, 日本1987 年开发出首部MF 泥水多圆盾构,1991 年开发出首部DO T 土压平衡多圆盾构,并相继开发出矩形盾构、椭圆盾构和其他异型断面的盾构。DO T 盾构机的切割刀盘位于同一平面,切割刀盘同步回旋;而MF 盾构机的各刀盘是错开开挖,切割面是面板型构造。利用MF 或DO T 盾构既能施工多联隧道又能施工单层多跨车站。目前全世界有13 台土压平衡盾构,在日本已有6 个区间成功地使用双圆盾构施工。上海隧道公司与日本已经合作在上海M8 线采用双圆盾构施工。

参 考 文 献
1 刘铁雄译. 日本隧道标准规范(盾构篇) 及解释. 成都:西南交通大学出版社,1988
2 关宝树. 隧道力学概论. 成都:西南交通大学出版社,1985
3 佘才高. 南京地铁南北线隧道地基的地震液化问题. 城市轨道交通研究,2001 , (3) :38

