屏蔽门高速丝杠副传动无偏载机构的改进
摘 要 屏蔽门的开启和关闭是由高速丝杠副传动来实现的。要求该传动机构具有很高的传动精度及较长的使用寿命。高速丝杠副传动无偏载机构是对以前的丝杠副传动机构的改进,可以解决高速丝杠传动中丝杠因负载、变形、安装误差等造成的传动、偏差及使用寿命等问题。
关键词 屏蔽门,传动机构,高速丝杠,无偏载传动
城市轨道交通站台屏蔽门系统是现代城市地和轻轨采用的一种专用设备。屏蔽门的开启与关闭是由高速丝杆副传动来实现的,这就要求该传动机构具有很高的传动精度和较长的使用寿命。本文讨论的是屏蔽门系统中高速丝杠副传动无偏载机构的改进。
1 原机构的工作原理及存在的问题
图1 为屏蔽门原来的高速丝杠副传动机构示意图。该机构采用高速多头大导程非自锁丝杠螺母传动副,丝杠(2) 外表套有耐磨螺母(1) ,丝杠通过联轴与电机轴联接,螺母(1) 和门挂板(5) 通过夹板(3) 以及铰链机构(4) 连接起来,门扇(6) 与门挂板(5) 通过螺栓连接。当电机开始工作时,丝杠(2) 可在电机带动下转动;套在丝杠外面的被螺牙啮合的螺母随之做直线运动,在连接叉与铰链机构的带动下,从而使一对门挂板(5) 和门扇(6) 跟着做开关门运动。在实验过程中,发现该机构在手动开关门的时候,需要费比较大的人力;而且在整个系统运行过程中,发现其运动不是很平稳,传动阻力大,存在着较大的运动噪声。下面结合图例分析产生这种现象的原因。
图2 为手动推门的示意图。当如图所示施加人力给门扇(3) 时,必然会对丝杆(1) 的轴心A 点产生一个力矩,这个力矩迫使丝杠(1) 和螺母(2) 在B 点产生很大的阻力,从而使人所施加的外力会增加。也就是说人需要很大的力才能将门扇(3) 打开或者关闭。同时由于丝杠(1) 和螺母(2) 之间存在着较大的阻力,丝杠与螺母之间的磨损必然比较严重。从而造成整个系统在运行过程中运动不是很平稳、运动噪声较大等现象。由于在安装过程存在着安装误差,一旦门挂板(5) 和门扇(6) 在安装时导轨面(7) 没有与丝杠(2) 的轴线平行,而螺母(1) 又不能自行调整其轴线与导轨面(7) 平行,从而整个系统在运行过程中,会产生偏载,从而造成阻力大、运动不平稳、噪声较大等现象。
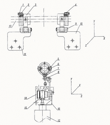
图1 屏蔽门高速丝杠副传动无偏载机构示意图
是改进后的丝杠副传动无偏载机构的示意图。该传动机构采用高速多头大导程非自锁丝杠螺母传动副,不锈钢丝杠(13) 外表套有耐磨螺母(2) 、(4) ,无刷电机和丝杠(13) 通过联轴器无减速直接联接。门扇(12) 成对联接在门挂板(10) 、(11) 上,门挂板(10) 、(11) 通过挂车(15) 和导轨(14) 联接。挂车(15) 承受门扇(12) 向下垂直的重量和水平侧挤压力。门挂板(10) 、(11) 运动间隙通过挂车(15) 调整。耐磨螺母(2) 、(4) 和一对门挂板(10) 、(11) 都采用无偏载机构,无偏载机构采用叉形铰链无偏载机构,连接叉(5) 上的可转动柱销(6) 插入与耐磨螺母(2) 、(4) 联接的法兰(1) 及套筒体(3) 内。连接叉用可转动的连接轴(7) 与具有活动关节的铰(8) 通过销轴(9) 连接在左挂板(10) 及右挂板(11) 上。

图2 手动推门的示意图链
2 机构的改进
根据以上分析的原因,对机构做了改进。图3
图3 改进后的屏蔽门高速丝杠副传动无偏载机构示意图
下面分析螺母的自由度受限制的情况:假设以图3 上端的正视图的平面作为X -Y 平面。在没有任何约束的情况下,螺母(4) 有6 个自由度,分别是绕X、Y、Z 轴的旋转以及在X、Y、Z 轴方向上的直线运动。首先分析X 轴的情况:假设以门挂板(10) 作为约束体,由于丝杠(13) 的转动,带动螺母(4) 做直线运动,而不能绕X 轴旋转;又由于连接叉(5) 上的柱销(6) 的限制,使得螺母(4) 相对于门挂板(10) 不能做X 轴方向的直线运动,所以无偏载机构限制了螺母(4) 在X 轴方向的2 个自由度。Y 轴上,由于连接叉(5) 上的可转动的连接轴(7) 的作用,使得螺母(4) 可绕着Y 轴转动;又由于铰链(8) 的作用使得螺母(4) 相对于门挂板可以做Y 轴方向的直线微量平移运动。Z 轴上,由于连接叉(5) 上的柱销(6) 的作用,使得螺母(4) 可以绕Z 轴旋转;又由于铰链(8) 的作用,使得螺母(4) 相对于门挂板可以做Z 轴方向的直线微量平移运动。无偏载机构不限制螺母(4) 在Y、Z 轴方向的4 个自由度,这正是我们所希望的。这是因为丝杠(13) 的转动从而带动螺母(4) 做直线运动,并通过无偏载机构和门挂装置从而带动门扇运动。所以必须要求螺母(4) 不能转动以及相对于门挂板不能沿X 轴移动。也就是说,必须限制螺母(4) 在X 轴上2 个自由度,而不限制另外4 个自由度,是因为在制造和安装丝杠和导轨过程中难免存在着误差。一旦丝杠(13) 和导轨(14) 稍微偏离了它们理论上平行位置,由于不限制螺母(4) 在Y、Z 方向的4 个自由度,螺母(4) 可以通过无偏载机构上的活关节自行调整轴心,避免螺母(4) 和丝杠(13) 之间产生额外的偏载而增大阻力。通过这样的设置,来减少磨损、提高使用寿命、降低噪声、提高传动精度,从而使整个系统能够平稳的运行。
3 实验结果
在对改进后的门机进行了100 万次的寿命实验后,发现整个系统运行平稳、传动精度高、噪声较低。该机构在手动开关门的时候,也不需费较大的人力就可以将门轻松打开或关闭。这说明改进后的机构能满足使用要求。

图4 螺母齿形变化简图试验前后螺母齿形变化情况如图4 , 其它部件的情况:门导轨测量不出磨损;虽有磨损,但可继续使用。门机经累计运行无故障100 万次工作循环周期后,所有零部件仍可继续使用,各项性能不变。
4 结语
改进后的传动无偏载机构通过高速多头非自锁丝杠螺母副,不仅实现将电机的旋转运动变成门扇的直线运动,而且能够满足运动平稳、低噪声、寿命长的要求。采用电机与丝杠无减速直接联接,减少了运动噪声,提高了门机的传动效率和可靠性, 制造、安装、变形、负载等引起的综合误差,改善丝也简化了门机机构。螺母与门挂装置采用无偏载杠受力状况,提高运动的平稳性,延长使用寿命,减机构联接可以使门机的性能更优,无偏载机构限制少运动噪音。经过实验证明,改进后的屏蔽门高速螺母6 个自由度中的2 个自由度运动,从而消除因丝杠副传动无偏载机构能满足使用要求。
参 考 文 献
1 陈海苑,龙腾. 水平滑动门门机权利要求书. 2001 (专利号:0127064805)
2 周本余,杨跃先等. PBM 门机100 万次寿命试验后解体测量结果. 郑州机电工程. 2002
3 胡志晖,叶霞飞,蔡蔚. 城市轨道交通屏蔽门系统的适用性分析. 城市轨道交通研究,2002 , (3) :62~65

