系统特征图在地铁车辆通风设计中的应用
摘 要 地铁车辆的空调通风设计是保证地铁车辆内环境的重要前提。针对某一地铁车辆空调设计方案,探讨应用系统特征图的原理方法来比较分析可能采用的设计方案。与实际分析的结果对比,表明系统特征图能快速准确地确定地铁车辆通风系统的设计方案。该方法也能运用到其它的空调设计中。
关键词 地铁车辆,空调通风,系统特征图
分析研究和解决地铁交通的环境控制和车辆空气调节是发展地铁交通的重要课题之一,这不仅关系到乘客的舒适性和安全性,而且直接影响地铁工程的建设费用。但是对地铁车辆的通风系统设计研究表明,各种方案的选择往往需要较长时间。本文借用运筹学中的一种网络技术即特征图来对比通风方案的优劣。
1 特征图的基本原理
特征图作为一种网络技术是运筹学的一个重要分支。只要能形成系统,能用图G(E,V ,σ) 表示的,均可用特征图表示[1 ]。G代表对应通风系统的网络图,V 是图G的节点集合,V = { v1 ,v2 , ?, vm} , 其中m 为节点的个数; E 是网络中所有分支的集合, E = {e1 ,e2 , ?,en} , 其中n 为分支的数目;σ是节点vi 与边ej 之间的连接关系。风网特征图也叫压能图、平衡图,就是通风网路中的每一条边用矩形框来表示,并按一定的关联关系排列在图上;在同一比例下,矩形块的宽等于该边的风量,高等于该边的风压,矩形面积等于该边的通风消耗的功耗。
1.1 基本关联矩阵与节点线A[2 ]
风网的基本关联矩阵是表示节点之间的邻接关系,用A(G) = (aij)(m-1) ×n 形式表示节点与边之间的连接关系。aij = 1 ,当(vi,vk) = ej ∈ E; aij = -1 ,当(vk,vi) = ej ∈ E;aij = 0 ,其它。由基本关联矩阵能做出节点线A , 与节点线相邻的上、下各块的风量满足流量平衡定律,即节点线相邻的上块风量之和等于下块风量之和。
1.2 基本回路矩阵与回路线B
基本回路矩阵是表示风网中回路与边之间的关系,用矩阵B = (bij)(n-m+1) ×n 表示。bij = 1 ,ej 在回路i上,且方向相同;bij =-1 ,ej 在回路i 上, 且方向相反;bij = 0 ,其它。与回路线B 相邻的左、右两侧各块的阻力满足能量平衡定律。即回路线相邻的左侧各块的阻力之和等于右侧各块阻力之和。
1.3 独立半割集矩阵与半割集线S
传统的风量平衡定律认为,对通风网路在任一时刻其任一节点的风量代数和等于0 。而广义的风量平衡定律指通风网络在任一时刻其任一割集的风量代数和也为0 。由半割集线S 相割的各块风量之和等于该系统的总风量,这是广义上的流量平衡。独立半割集矩阵S = (sij)(m-1) ×n,sij =1 ,ej 在半割集i 上;sij = 0 ,其它。
1.4 独立通路矩阵与通路线P
传统的风压平衡定律认为,通风回路中的任一回路其风压的代数和为0 。广义的风压平衡认为通风网路中任意两条有向通路的风压相等。由通路线
P相割的各块阻力之和等于该系统的总阻力,这是广义上的能量平衡。独立通路矩阵P= (pij)(n-m+2) ×n, pij = 1 ,ej 在通路i 上; pij = 0 ,其它。
1. 5 风网特征图的表示
把风管的布置图看作是风网络的一个分支,则通风设计方案就可以表示成相对应的系统特征图。应用系统特征图对通风风管进行分析可以看出各个方案的设计性能。通风网络图中的每条边分别对应特征图中的相应序号的矩形块,矩形块的排列
学术专论
是按边的连接关系排序的。矩形块的宽等于该边的风量,高等于该边的风压,矩形面积等于该边的通风消耗的功率。见图1。
图1 风网特征图表示
2 地铁车辆的通风方案
地铁车辆内经过处理的送风和回风都必须通过风道才能进入空调区域;而且空调区域的送、回风量能否达到设计要求,则完全取决于风道系统的压力分布以及风机在该系统中的平衡工作点。所以风道设计将直接影响空调区域气流组织和空调效果。同时,空气在风道内流动所损失的能量,是靠风机消耗电能予以补偿的,所以风道的设计也直接影响空调系统的经济性。因此,风道系统的设计,是在满足设计风量等要求的前提下,尽可能节省能量。如何从系统的整体性来考虑,使通风系统的整体性能达到最优,是选择通风方案的首要考虑的问题。在对某地铁车辆通风方案的设计过程中, 经过对各种设计方案的反复比较与分析,确定下来3种可选用的通风设计方案[3] 。
2.1 方案1
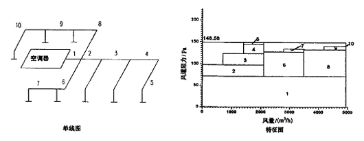
全车(以带司机室为例)以空调器置于车内,送风口布置及风道系统布置图见图2(注:系统图中10 部分管道是指带司机室车的风道布置,其尺寸为0.1 m×0.2 m, 而无司机室车的风道布置则没有该部分) 。每两相邻风口中心线距离为2.35 m, 司机室送风量为54 m3/h。本文以带司机室车为例,按负荷计算的总送风量为9 878 m3/h、每车选2台空调器计算,则每台空调器送风量计为V =4 939 m3/h。方案1风道阻力计算列于表1, 风道阻力计算用风系统单线图与系统特征图见图2。特征图中的虚线表示通风系统的最大阻力线,图中矩形块的数字与单线图中的数字对应。
图2 方案1系统的单线图和特征图
表1 方案1 风道阻力计算数据表

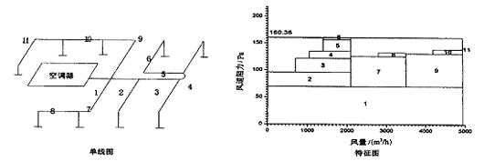
2. 2 方案2 口布置及风道系统布置图与系统特征图见图3 , 风道阻力计算列于表2 。
表2 方案2 风道阻力计算数据表


图3 方案2 系统的单线图和特征图
2. 3 方案3 风口布置及风道系统布置图与系统特征图见图4 ,
风道阻力计算列于表3 。全车(以带司机室为例) 以空调器顶置于车内,

图4 方案3 系统的单线图和特征图具有静压箱作用的主风道,测得各部分阻力分配均
2. 4 实际通风方案的比较匀。方案2 实际上是方案1 的一种变型,也充分利
根据试验测定报告[ 3 ] ,方案1 充分考虑利用地用有限空间,设置了具有静压箱作用的主风道,各铁车辆内的有限空间,系统布置比较流畅,设置了部分阻力分配较为均匀;但由于主风道中存在一个较大的弯头,增大了风道系统的阻力,与方案1 相比系统的阻力大一些。方案3 没有设置主风道,没有充分利用空间来布置风道,各部分阻力分配不均匀,测得噪声较大。因此,最后选择方案1 作为最佳的设计方案。
表3 方案3 风道阻力计算数据表

3 系统特征图的应用
利用通路线,从特征图中得出方案3 的最大阻力为266 Pa , 远大于方案1 的最大阻力值148 Pa 与方案2 的最大阻力值160 Pa 。
利用节点线,比较3 种方案的流量平衡。从特征图中得出方案1 与方案2 各个部分的支流流量的分配相对于方案3 的支流流量分配更加均匀合理。
利用回路线,比较3 种方案的压力平衡。从特征图中得出方案3 各部分之间的最大压力差值为119 Pa , 大于方案1 各部分之间最大压力差值21 Pa 与方案2 各部分之间的最大压力差值34 Pa 。
此外,还可计算3 种方案的通风功耗。根据前述的原理,总功耗等于特征图中各个方块的面积之和,由此可得方案1 的总功耗为177 W , 方案2 的总功耗为179 W , 方案3 的总功耗为255 W 。从节省能量的角度考虑,方案1 为最佳。
这样,从最大阻力、流量平衡、压力平衡以及通风总功耗出发分析得出,方案1 与方案2 的综合性能好于方案3 。用上述同样的办法,分析出方案1 比方案2 的性能好。由此在这3 个方案中选择方案1 , 与试验测定报告得到的结论一致。
本文借用系统特征图的概念与方法,对地铁车辆的通风系统方案的选择进行了分析,得到令人满意的结论,并与实际测试报告的结果完全吻合。文中所提出的方法考虑了通风系统的综合性能,具有一定的参考价值,该方法也能运用到其它的空调通风设计中。
参 考 文 献
1 徐瑞龙. 用于地下通风系统管理的系统特征图. 暖通空调,2000 , (5) :80~82
2 谢朝军. 地铁通风网络的数学模型及电算方法初探. 现代隧道技术,2001 , (6) :53~56
3 中南大学制冷空调研究所. 北京地铁车辆空调通风系统性能试验研究报告,2001

