重庆跨座式单轨交通高架轨道梁桥设计
摘 要 重庆轻轨工程是我国第一条跨座式单轨交通系统。介绍了该跨座式单轨交通的技术标准,并对高架轨道梁桥的孔跨布置、轨道梁设计和制造工艺、墩柱设计形式以及相关技术作了阐述。
关键词 独轨铁路,跨座式,轨道梁,轻轨交通桥梁设计
跨座式单轨交通具有噪音低、爬坡能力强、转弯半径小、快速便捷、占地少、造价低、利于环境保护等优点,是现代化城市快速轨道立体交通的一种新形式。但跨座式轻轨也有缺点,能耗大、运能小, 且无法与常规的地铁、轻轨接轨。应用跨座式单轨铁路最多的国家是日本。1964 年,日本东京修建了从市中心到羽田机场的跨座式单轨铁路,全线实现计算机集中高度控制。该线成为旅客出入羽田机场的重要通道。后来,日本又建了大阪线、北九州线等跨座式单轨铁路。另外,法国、美国、澳大利亚和英国也都修建了自己的跨座式单轨铁路。本文介绍的是我国第一条跨座式单轨交通 重庆轻轨。
1 工程简介
重庆是山城,为丘陵地理特点,故选择噪声低、爬坡能力强、转变半径小的跨座式单轨交通系统, 这在我国尚属首次。重庆市轻轨工程东起重庆市区商业中心较场口,西至大渡口区钢铁基地新山村,途经临江门、大溪沟、牛角沱、李子坝、大坪、杨家坪等地段,全线长17. 54 km ,共设17 座车站。全线分两期建设实施,其中一期工程由较场口至大堰村长13. 98 km ,14 座车站,2 座变电站,6 座牵引变电站,一座车场,一座控制中心,初期配车84 辆,建设工期为4 年半。全线建成后可达到高峰小时运送3 万人次的客运能力,初期年客运量1. 5 亿人次,远期年客运量3 亿人次。线路分左右线双向行驶。高架轨道梁桥贯穿全线,高架桥占83. 2 %。工程总投资45 亿元左右,每公里造价约为2. 2 亿元。于2000 年开工建设,计划2004 年6 月建成通车。
2 主要技术标准
由于我国目前尚没有跨座式单轨的设计规范和标准,针对重庆轻轨工程,借鉴日本规范《单轨构造设计指南》,并参考我国公路、铁路桥规、《地下铁道设计规范》,结合重庆轻轨工程的具体特点,重庆市轨道交通总公司专门制定了详细具体的设计技术要求和技术标准。
(1) 线路性质:城市快速轨道交通线,正线数目为双线。
(2) 行车速度:列车最高运行速度80 km/ h ,曲线段根据曲线半径限速行驶。
(3) 设计荷载轴重:110 kN (车辆设计荷载图示见图1)
(4) 平曲线最小半径:正线100 m ,车站300 m , 车辆段及道岔附带曲线50 m。
(5) 纵断面最大坡度:正线6 % ,地下车站5 % , 高架车站0 %。
(6) 曲线超高:正线圆曲线上设不大于12 %的超高率,允许欠超高率5 % ,允许过超高率3 % ,超高过渡在缓和曲线范围内完成。
(7) 桥下净空:跨越城市一般路段不小于5. 2 m ,大件路段一般不小于7 m。
(8) 双线线间距:直线段3. 7 m ,曲线段根据曲线半径及行车速度计算进行加宽。
(9) 建筑限界:区间直线段单线建筑限界宽度3. 87 m , 轨顶面以上4. 0 m ; 双线桥梁限界宽度为7. 57 m , 高度为轨顶面以上4. 0 m 。
(10) 标准轨道形式:采用预制钢筋混凝土轨道梁,断面尺寸为1. 5 m(高) ×0. 85 m(宽)
(11) 标准预制PC 轨道梁跨度:平面曲线半径大于700 m 时采用22 m 跨;平面曲线半径小于等于700 m 时采用20 m 跨。
(12) 支座及伸缩缝:采用特殊设计的跨座式单轨专用铸钢拉力支座和指形板伸缩缝。
图1 跨座式单轨车辆设计荷载图示
3 轨道梁设计与制造
3. 1 轨道梁设计
PC 轨道梁既是承载的梁,又是轻轨列车运行的轨道;既要满足结构承载要求,又要在制造和架设过程中按照线路设计要求形成轨道线形。轨道梁作为轻轨车辆的走行轨道,直接关系到列车运行时的安全及平稳,因此对其设计精度及制造精度要求非常高。轨道梁的设计必须要确保轨道的整体线型要求以及较高的结构强度、刚度、竖向挠度、横向抗扭转变形要求。另外,轨道梁的设计不仅要考虑牵引供变电、接触网、通信信号控制、避雷器、自动监控、综合接地等电气设施装置的要求,同时要考虑敷设于轨道梁体上的电缆、内部管道等附属物的接口安装和维护条件,以及支座、伸缩缝等的安装。各种复杂的接口关系和高精度要求导致了设计的高难度。
标准跨度轨道采用预制预应力钢筋混凝土结构(PC 梁),其跨中的标准断面尺寸(见图2) 设为1. 5 m(高) ×0. 85 m(宽) 。两片轨道梁之间的梁缝宽度采用30 mm , 梁缝中心至支座中心的距离采用400 mm 。两片梁缝之间通过安装指形板进行连接,以满足伸缩要求。标准预制轨道梁均采用跨座式轻轨专用PC 轨道梁铸钢支座,按使用要求并兼顾标准化生产,分别按曲线半径100 m 、500 m 及直线共分3 种类型。各类支座均有固定支座和活动支座之分。轨道梁在两侧中部设有刚性滑触式导电轨,在梁内两顶角处设有信号系统ARP/ TD 感应环线,梁体底部设有供电和通信、信号系统电缆托架,梁下托架在桥墩处设支架绕过支座。

图2 标准轨道梁跨中断面(单位:mm)
根据轨道梁具体结构尺寸进行结构计算分析, 按分析数据进行体内预应力钢束配置。鉴于轨道梁构造及受力模式的特殊性,梁体内预应力宜采用小孔钢束。标准跨度的轨道梁体内共设10~12 束3 -7Φ5 和4 -7Φ5 两种类型的预应力钢绞性,用内径Φ50 的波纹管成孔,采用AM 或HVN 系列锚具锚固。预应力钢绞线标准强度为1 860 MPa , 锚外张拉控制应力为1 395 MPa 。为减少混凝土收缩徐变对轨道梁的影响,钢束共分两次张拉,第一次张拉4 束,第二次张拉其余钢束。设计时按第4 天第一次张拉,第14 天第二次张拉,第104 天架设轨道梁,计算梁体变形。轨道梁内普通钢筋均采用Ⅱ 级钢筋,主筋和箍筋采用Φ16 , 辅助筋采用Φ12 。梁体混凝土采用C 60 号,梁端采用无收缩混凝土封锚。
预应力计算相关参数取值如下:
(1) 混凝土弹性模量初张拉时为34. 5 GPa , 终张拉时为37. 5 GPa ;
(2) 锚口损失按张拉应力的7 % 计算;
(3) 钢束与管道壁之间摩擦系数为0. 26 , 管道偏差系数为0. 003 ;
(4) 收缩徐变终极值为2. 368(τ= 4), 2. 116 (τ = 14), 1. 544 (τ= 104);
(5) 收缩应变终极值为2. 2 ×10-4;
(6) 设计温度为18 ℃ 。
轨道梁允许的动荷载(不包括冲击荷载) 最大竖向挠度不应大于计算跨度的1/ 600 。轨道梁预制时设置反拱度。反拱度的大小是把静荷载产生的挠度与动荷载产生挠度的1/ 2 相加,并考虑预应力、干燥收缩及徐变的影响来计算。
3. 2 轨道梁制造和架设
由于线路纵坡、平面曲线、竖曲线、横向曲线超高的影响,几乎每一片轨道梁的线形都不相同。为保证轨道梁的整体线形高精度要求和确保PC 轨道梁的质量,除车辆段基地现浇RC 梁外,轨道梁一般为工厂预制。采用能适应各种平、竖曲线的可调活动模板制梁,经过严格的养护和质量管理。
由于影响PC 轨道梁变形的因素很多,预应力张拉、混凝土收缩徐变等均会引起的梁体外形偏差。为控制轨道梁的制造精度,每一片梁都必须编制《PC 轨道梁作工法指导书》作为制梁的依据。制作工法指导书是在PC 轨道梁施工图、线形构造图、预埋件布置图的基础上,结合制梁模板编制的, 用来控制PC 轨道梁初始形状的技术文件。其内容包括:设计条件、活动制梁模板千斤顶压拉量、反拱度设置、端模的倾斜角和转角、端模和支座的平面位置关系、轨道梁制作时的弧长和弦长、相关的略图、钢筋布置方式、预应力钢束布置、中模反拱度设置、施工检测数据设计值等。其中变形控制设计的相关参数按规范及观测梁的观测结果取值。
PC 轨道梁的预制工艺流程控制非常严格,包括制梁台车、内外模板安装、线型调整、预应力管道安装、预埋电缆管道、支座预埋件安装、混凝土浇注、梁体养护、预应力张拉、梁体检测等步骤。对每一步骤的制作安装精度都作有详细的规定,技术难度很高、工艺复杂。
PC 轨道梁的预制精度要求:长度±10 mm , 宽度±2 mm(端部) 、±4 mm(中间) 。预制轨道梁采用特殊研制的跨座式单轨专用PC 轨道梁架桥机进行单线架设;在墩高较小的特殊地段也可采用大吨位汽车运输到目的地,然后以汽车吊起吊架设。
4 桥跨布置及墩柱、基础设计
4. 1 桥跨布置
高架桥孔跨布置应符合城市总体规划,考虑水文、地形、地质、周围景观等条件,以及对邻近建筑、公用设施、道路、地下管线及构筑物的影响来确定。考虑到轨道梁使用功能的特殊性和结构的复杂性, 轨道梁需设计标准化、制造工厂化、施工机械化,并从城市整体的景观角度出发,其桥型结构应优先采用标准跨度的预制PC 简支梁布置方案。当线路平面曲线半径大于700 m 时采用22 m 标准跨度; 当平面曲线半径小于或等于700 m 时采用20 m 标准跨度;当受其它条件制约时才可采用非标准跨度。非标准跨度简支梁必须大于6 m 、小于25 m 。标准跨和非标准跨度的PC 轨道梁均采用统一的标准断面尺寸。当采用大于25 m 的大跨轨道梁时,须经特殊设计。
在受地形地质、立体景观、城市道路立交等条件的制约时,可根据具体情况采用大跨度高架桥。大跨结构可采用主梁之上叠合标准轨道梁或两者结合成整体受力的方式,也可采用大跨度钢制轨道梁。大跨结构可以选择PC 箱梁、PC 连续梁、连续刚构、V 形撑、T 构等结构形式。在重庆轻轨工程的实际设计中,根据实际情况,特殊地段分别采用了V 形撑、连续刚构、T 构、倒T 梁等大跨高架结构形式。
4. 2 墩柱及基础设计
轻轨穿越于城市中,大部分墩柱位于道路的中央分隔带上,对墩柱的整体景观要求较高。一般普通墩柱应优先采用钢筋混凝土T 形独柱式矩形或方形桥墩,特殊受地形限制地段可采倒L 形墩和门式刚架墩等形式,地面之上墩柱均应加设圆弧形倒角。墩柱结构的强度、刚度、稳定性,以及构造要求、裂缝计算宽度、配筋率等均应满足相关技术要求。针对跨座式轻轨交通的结构特点,一般应遵循以下设计原则:
(1) 墩柱一般采用矩形(包含方形) 带圆倒角形式,截面边长以10 cm 进级,墩身最小配筋率为0. 6 % , 最大配筋率一般不超过2. 5 % 。
(2) 墩顶位移一般情况小于或等于5 ( L —梁跨长度,m) ,个别对景观要求高及其它特殊地段可按不大于40 mm 控制。
(3) 桥墩基础根据地层情况可选用矩形或圆形挖孔桩、钻孔桩、明挖扩大等基础形式。桩身配筋率控制在0. 4 %~2 %以内,嵌岩桩的深度应满足受力要求。
(4) 为了保证混凝土的耐久性,桥墩基础一般采用C30 混凝土,墩柱身采用C35 混凝土,盖梁采用C40 混凝土,预应力结构采用C50 混凝土。墩柱及盖梁主筋净保护层一般采用5 cm ,柱基主筋净保护层采用7 cm。
(5) 跨越道路而采用门式墩时,设计轴线优先考虑顺道路法线方向。
重庆跨座式单轨交通线中采用的典型墩柱形式有下面的几种:
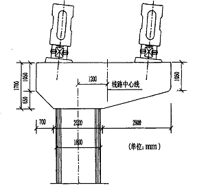
(1) T 形独柱墩 这是重庆轻轨工程中应用最多的墩柱形式。应根据结构分析计算结果和各项控制标准确定墩柱截面尺寸,同时根据上部轨道梁支座的构造尺寸及预埋件构造要求确定盖梁的构造尺寸。一般墩高小于1. 5 m 位于半径大于等于1 000 m 曲线及直线上的桥墩采用1. 6 m ×1. 6 m 方形截面,位于半径小于1 000 m 曲线的桥墩采用1. 7 m ×1. 7 m 方形截面,墩高15~25 m 时采用1. 8 m ×1. 8 m~2. 2 m ×2. 2 m 方形截面,盖梁高度均采用1. 4 m。见图3。
(2) 倒L 形独柱墩— 由于受平面位置限制, 当线路中心与墩柱中心有偏距且偏距较小时,设置倒L 形独柱墩。其墩柱与线路中心线的偏心距离为0. 5~1. 2 m。墩身截面尺寸根据墩高计算确定,盖梁高度一般采用1. 7 m。见图4。

图3 T 形独柱墩
(3) 大偏心预应力拉杆式倒L 形墩 为避免轻轨线路在跨越较窄道路时设置门式刚架墩,可在道路两侧采用大偏心预应力拉杆式倒L 形墩。桥墩最大净偏心距离为2. 75 m。盖梁和拉杆均加设预应力,墩柱采用2. 2 m ×1. 5 m 矩形截面,拉杆采用2. 2 m ×0. 8 m 矩形截面,盖梁高度采用2. 0 m。见图5。
(4) 门式刚架墩
当轻轨线路跨越较宽的城市道路又不能在道路中间设置桥墩时,可设置门式刚架墩。刚架跨度在15 m 以下时可采用钢筋混凝土结构,刚架跨度大于15 m 时可采用预应力钢筋混凝土结构。见图6。
墩柱设计时除了要考虑本身的构造外,还要考虑其它附属结构物的设计,如墩柱内避雷器系统预埋管道及信号接地极的安装、PVC 排水管道,广告灯箱电线预埋管、馈线上网装置预埋件等。盖梁内则需要考虑支座锚箱及固定支架的安装、支座锚箱排水管道安装、通信信号系统预埋件、供电环网电缆预埋件、避雷器预埋件等。
图5 大偏心预应力拉杆式倒L 形墩
5 结语
跨座式单轨技术复杂,对高架轨道梁桥的设计和施工精度要求都很高,结构设计需要很多控制点的精确平面座标、高程及方位角来保证精度,因此应该充分认识到设计的复杂性。另外,高架轨道梁图4 倒L 形独柱墩桥的设计与线路、排水、照明、牵引供变电、通信各
专业接口关系也较为复杂,需要全面统筹考虑。
图6 门式刚架墩
参 考 文 献
1 张波,孙章. 大力发展现代化轻轨交通. 城市轨道交通研究,2001 , (4) :51
2 铁道第一勘察设计院. 重庆轻轨较新线一期工程施工图设计. 2001
3 王根芳. 关于重庆市轨道交通规划和近期重点建设项目的研考. 重庆建设,2002 , (12)

