直径6.14m复合型土压盾构掘进机
【提 要】:本文结合广州地铁区间隧道掘进工程,设计改制2台复合型土压盾构,满足在高水压软土和风化岩混合地层条件掘进施工的要求。论文介绍了复合型切削系统和其他盾构主要系统的设计计算,重点论述了刀盘刀具的选型和地层条件的适应性的技术难题。
【关键词】:地铁隧道盾构掘进机土压平衡
Abstract: The article incorporating running section tunnelling at Guangzhou Metro, designs to refurbish 2 Mixshields (EPBM) to satisfy construction requirements of tunnelling through high water pressure soft soil and weathered rock implicated soil. This paper presents design and calculation of Mixshield cutting system and other major systems of the shield, focusing on discussion of technical problems concerning type selection of disk cutter and soil condition adaptability.
Keywords: metro tunnel, shield machine, earth pressure balance.
1 国内外现状
2000年以来,我国各大城市的地铁工程建设得到了迅速的发展,地铁区间隧道工程越来越多地采用盾构法施工,土压平衡盾构具有土层适应性强、干出土、机械化程度高、掘进速度快、对环境影响小的特点,得到广泛的应用。泥水加压盾构由于其泥水分离的成本高和复杂性而很少应用。一般的土压盾构主要适用于软土地层,最适用于淤泥质土和一般的粘土。在砂性或砾石地层中掘进,必须对切削土进行改良,加注润滑剂,提高土体塑流性。广州、深圳地铁隧道的掘进地层比较复杂,既有软土又有软岩,甚至硬岩,一般的土压盾构不适用软、硬混合地层的掘进,复合型土压盾构由于其刀盘上装有切削软土和岩石的两种以上的刀具,而成为广州、深圳地铁工程的首选。
上海隧道工程股份有限公司于1999年中标承建广州地铁2号线,海珠广场站——江南新村站区间隧道工程,全长1.7km,隧道穿越地层主要为残积土、全风化岩、强风化岩、中风化岩和弱风化岩,风化岩强度从2~46MPa不等,且穿越珠江底高水压富含水地层。隧道地层纵剖图见图1。

根据地层条件和业主提出的利用已经掘进了约6km的2台φ6.14m泥水加压盾构的要求,对原泥水加压盾构进行了改制、设计,并完成了2台φ6.14m复合型土压盾构的制造、安装和掘进施工,积累了复合型土压盾构的设计和制造的经验。
2 盾构选型和主要施工性能要求
掘进广州地区地层的盾构性能,既要求能切削强度较低的粉质粘土,又能切削强度达40MPa的粉砂岩、泥灰岩层,一般的土压平衡盾构和泥水加压平衡盾构均不能切削软岩。经反复论证比选,确定盾构型式为复合型,即其切削大刀盘上分别装有切削残积土的割刀和切削软岩的盘型滚刀。
由于盾构切削的岩体可能产生大块岩石,使常用的带中心轴的螺旋输送机不利出碴,因此应选用可运出大石块的带式螺旋输送机。
盾构改制的关键是大刀盘切削系统和带式螺旋机出土系统的设计,制造安装。根据业主要求,用于掘进施工的φ6.14m复合型盾构指定由已经在一号线掘进施工约3km的2台φ6.14m泥水加压平衡盾构改制(图2)。

3 盾构主要技术参数和计算方法
盾构设计,主要技术参数包括总推力、刀盘切削扭矩、螺旋输送机、管片拼装机等。复合型土压平衡盾构简图(图3)。

3.1 盾构总推力(F)
盾构在推进过程中可能遇到岩土层稳定与不稳定两种情况,因此考虑盾构总推力的时候,必须顾及此两种情况。
3.1.1 硬岩盾构总推力(F硬)
一般硬岩盾构推力按(刀盘滚刀所需有效推力+盾构自重)计算。广州地铁2号线隧道轴线穿越强风化带岩土外,还穿越微风化带的岩土层,岩性为粉砂质泥岩、砂砾岩、砾岩等。单轴极限抗压强度fc=31.2MPa,抗剪断强度c=3.4MPa,根据我公司长期对TBM盾构技术的研究,决定采用盘形滚刀和标准割刀组合布置的刀盘来开挖此隧道。刀盘上采用φ400mm的41把盘型滚刀为主体进行全断面破岩,以紧跟滚刀排列的86把割刀作辅助破岩。
滚刀在破岩过程中有垂直方向的切入力VF与滚刀在岩土上滚压的滚动阻力RF,而且锐刃滚刀与钝刃滚刀所需的推力不一样,41把盘型滚刀的推力为F1=ΣVFi+RFi,i=1~41
经计算,滚刀所需的有效推力F1理论为790.5×104N
根据实验室和现场累积,F2应为1025×104N
设计选取Fg
Fg=F2=1025×104N
3.1.2 土压平衡盾构总推力(F土)
土压平衡盾构在推进过程中要克服以下一些阻力,有盾构正面土压力对盾构的阻抗作用力Fp、(一般情况下可按盾构轴心线上的平衡土压力计算,特殊情况下应按被动土压力计算)盾构侧面在自重、顶部水土压力,底部水土压力,侧向水土压力作用下受到的摩擦阻力Ff以及盾构后部设备台车的牵引阻力和盾构纠偏过程中的附加阻力Fz
即:F土=Fp+Ff+Fz
3.2 软土和砂土地质的盾构,刀盘切削扭矩
惯用的计算式为
T= α·D3(为扭矩系数)
此类盾构一般取α=1.6
由于硬岩掘进刀盘所需的扭矩大大小于软土或砂土地质下掘进的刀盘扭矩,因此,本方案中刀盘最大扭矩的配备按软土中施工的扭矩配置。
T=482.6×104N·m
3.3 推进速度(v)
推进速度的快慢是一个综合指标,是工地上能源配备,隧道施工中水平、垂直运输能力诸因素综合平衡的结果,本盾构选用
v=5.1cm/min≈3000mm/h
3.4 管片拼装机
管片拼装机的功能是将预制混凝土或钢制管片按设计要求在盾尾区间拼装成环,并使环环相扣形成隧道。因此其必须具备将任一块管片安装到指定位置的能力。一般来说,其安装过程是一个空间管片作业过程,因此,人们将拼装机称作是安装管片的机械手。拼装机由盘体机构、传动部件、挡轮、托轮、液压系统及电气控制系统等部件组成。盘体机构是以钢结构为主体,传动部件采用齿啮合形式,盘体旋转速度分快、慢两种。拼装机设计由两部分工作构成;其拼装过程的运动轨迹由精确作图来完成,而传动功能则要作理论计算。主要技术参数计算如下:
提升力(F)=70kN×2
回转力矩(TP)=100kN·m
转速(v)v1=0.5r/min;v2=1.0r/min
倾覆力矩(TQ)
拼装机的倾覆力矩,由若干侧向挡轮平衡。
回转角度 ±200°
拼装机提升行程 650mm
拼装机平移行程 600mm
拼装机钳口油缸伸缩行程 60mm
3.5 螺旋输送机
螺旋输送机的功能是将盾构推进过程中的弃土从工作面输送出来,并由其他设备运送至隧道外。盾构推进速度的快慢,决定了每小时出土的多少。因此,螺旋输送机输送弃土能力的配备考虑到盾构的最大推进速度。同时,盾构在推进过程中维持工作面的土压平衡是靠控制螺旋输送机的出土量来实现的,常用的带中心轴的螺旋输送机不易出渣,因此,结合实际地质条件,采用带式螺旋输送机,见图4。

螺旋输送机总长约10m,采用后部1点支撑,驱动部件为低速大扭矩马达。部件主要参数:
螺秆直径D=700mm
螺秆节距L=700mm
最大转速nmax=15.5r/min
输送量Q=199m3/h(η=100%)
驱动扭矩T=4×10kN·m
4 关键部件的设计研究
4.1 刀盘结构设计研究
大刀盘是与开挖面岩土直接接触的结构件,其主要功能是破碎岩土。
本区段隧道工程,从海珠广场站至江南新村站,盾构将穿越9号弱风化带岩石约300m,为满足工程施工要求,刀盘的设计和制造是十分关键的。
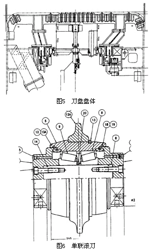
刀盘由盘体和滚刀、割刀等组成。刀盘盘体在盾构推进过程中承受着巨大的抗力。因此,盘体结构除满足强度条件外,必须考虑足够的钢度,以免在施工过程中变形而影响正常地运行。盘体设计成刚性较好的“︹ 及ㄇ”形式(图5)的刀盘盘体。

本盾构的刀盘盘体上共布置有127把刀具,其中滚刀有41把,滚刀的布置符合一定的规则,即既要能全断面破碎岩石,又要根据盘体中心与边缘线速度的不一致而作适当的调整,图6,图7,图8列举了单联滚刀、双联滚刀、中心滚刀的情况。

滚刀由盘形刀片、轴承、心轴、刀壳等组成,盘形刀片由特殊的硬质合金材料制造,经热处理后具有高硬度高强度等性能,足以破碎岩土,本盾构每把滚刀承受抗力可达250kN。
滚刀安装在盘体上的刀座上,用紧固螺钉固定(图9)。遇到刀具磨损或地层变化需要调换刀具时,操作工可以在刀盘盘体后方安全区域工作。

其余86把割刀成辐条形规则地布置在刀盘盘体上,起辅助切割作用(图10)。与滚刀一样,割刀也可以方便地更换。
这样,布置的滚刀、割刀不管在性能稳定的微风化岩土地层或是不稳定的强风化岩土层中,盾构都能有效地全断面掘进。
4.2 盾构初推段及切削刀具的改进
盾构出洞初推段即碰到强、中风化岩地层,产生盾构推力大(达20×106N)、掘进速度慢(0.5~2mm/min)、刀盘扭矩大(2.5~3.3×106N·m)等问题,经分析研究,即时采取拆除刀盘上的27把盘形滚刀,更换成先行刀,适宜切削强度较低的风化岩,起到撕裂破坏岩体的作用.先行刀高出刀盘面板95mm、110mm和150mm三种,见图11。先行刀与滚刀可互换。
盾构刀盘改制后,推进速度提高到可日推进可达5m。

4.3 刀盘驱动系统
刀盘驱动系统的主要功能是为大刀盘挖土提供旋转动力。
在硬岩层掘进时刀盘所需的扭矩小而转速高,在软土或砂土地质掘进时刀盘所需的扭矩大而转速低,因此盾构机刀盘的扭矩按软土地质施工中的最大扭矩配置。本系统为盾构关键部件,采用相关的日本公司生产的产品。刀盘主要参数:
a. 刀盘切削直径D=6.21 m
b. 刀盘转速n=1~3 r/min
c. 刀盘最大扭距Tmax= 4.826 ×106 N·m
驱动油马达共12台,配置油泵组14台,当盾构进入软土地层时,开动5台油泵组,系统为高扭矩,低转速;当盾构进入硬岩地层时,开动全部14台油泵组,系统达到低扭矩,高转速。
5 结语
结合广州地铁2号线区间隧道工程地质条件,在消化吸收国外复合型土压平衡盾构先进技术的基础上,将2台已使用过的泥水加压盾构,创新改制为两台φ6.14m复合型土压盾构,并用于隧道掘进,解决了盾构穿越江中段大深度、高水压风化岩地层的难题,取得了复合型盾构在广州等复杂地层中施工的经验。表明上海隧道工程股份有限公司在盾构设计制造的技术水平上实现了跨越式的发展。
新闻来源:《城市交通隧道工程最新技术》

